Микросхема КР580ВВ55А
Микросхема
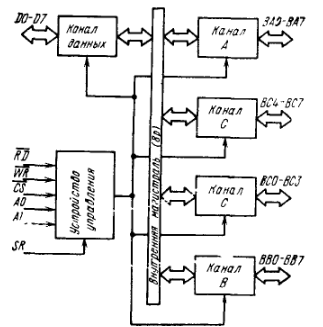
КР580ВВ55А - программируемое устройство ввода/вывода параллельной информации,
применяется в качестве элемента ввода/вывода общего назначения.
Обмен информацией между магистралью данных осуществляется через 8-разрядный двунаправленный трехстабильный канал данных (D). Для связи с периферийными устройствами используется 24 линии ввода/вывода, сгруппированные в три 8-разрядных канала ВА, ВВ, ВС, направление передачи определяются программным способом.
Режим 0: обеспечивается возможность синхронной программно управляемой передачи данных через два не зависимых 8-разрядных канала ВА и ВВ и два 4-разрядных канала ВС.
Режим 1: обеспечивается возможность ввода или вывода информации из периферийного устройства через два независимых 8-разрядных канала ВА и ВВ по сигналу квитирования.
Режим 2: обеспечивается возможность обмена информации с периферийными устройствами через двунаправленный 8-разрядный канал ВА по сигналу квитирования.


Структурная схема КР580ВВ55А Управляющие слово
Назначение выводов
| Вывод | Обозначение | Тип вывода |
Функциональное назначение выводов |
| 1-4,
37-40 |
BA3-BA0, BA7-BA4 | Входы/выходы | Информационный канал А |
| 5 | RD | Вход | Чтение информации |
| 6 | CS | Вход | Выбор микросхемы |
| 7 | GND | - | Общий |
| 8,9 | A1, A0 | Вход | Младшие разряды адреса |
| 10-17 | BC7-BC4, BC0-BC3 | Входы/выходы | Информационный канал В |
| 18-25 | BB0-BB7 | Входы/выходы | Информационный канал С |
| 26 | Ucc | - | Напряжение питания +5В |
| 27-34 | D7-D0 | Входы/выходы | Канал данных |
| 35 | SR | Вход | Установка в исходное состояние |
| 36 | WR | Вход | Запись информации |